使用“扫一扫”即可将网页分享至朋友圈。
苹果正在开发动态Apple Glass 音频和AR图像融合软件
像经常被传闻的苹果眼镜智能眼镜或增强现实或虚拟现实头显这样的项目,必须依靠为用户提供令人信服的视觉效果和足够的音频来实现完全的沉浸感。然而,这两种元素都提供了自己独特的问题,生产头戴式显示器的公司必须克服。对于音频来说,AR和智能眼镜的音频需求和VR的音频需求有天壤之别。前者可能希望音频有限,并且还能听到其他环境的声音,而VR的使用通常是依靠屏蔽外部声音,只留下虚拟世界的音频。目前的头戴式头显可以实现这一点,但那些内置音频系统的头戴式头显通常不能提供用户想要的灵活性。
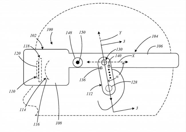
在美国专利和商标局周二授予的一项名为 "具有多模态音频的显示设备 "的专利中,苹果描述了带有音频组件的头戴式视觉系统,该组件可以在头显的支撑结构上的不同位置之间转换。因此,苹果AR眼镜或VR头显可能包括一个可切换的音频系统,可以提供一系列不同的听觉模式,同时还加入了一个可以将现实世界的景象与虚拟图像平滑地高速融合的系统。苹果提出,音频系统可以在耳外模式和耳内模式之间切换,前者是将活动式头显系统的扬声器放在离耳朵一小段距离的地方使用,后者是将扬声器放在耳道内。在耳外模式下,系统将使外部声音能够被更清晰地听到,而第二个版本将更多地阻碍环境声音被用户听到。
在模式之间的切换,苹果建议在每个头显中使用一个驱动器,可以改变它通过不同端口投射声音的方式,以匹配两种不同的位置。这包括根据是否靠近耳朵来调整低音单元的功率水平,甚至是一个可切换的物理元件,可以改变声音的运动。声音产生模块将使用一个枢轴上的短臂,离枢轴最远的点包含用于放置在耳朵里的元件。根据它的枢轴方式,该装置要么通过一种方法将音频送入耳朵,要么使用另一种方法进行听外音,并自动进行改变。除了枢轴,苹果公司还表示,该音频元件可能还能够向耳朵倾斜和远离耳朵,以方便放置,并可能包括一个伸缩部分。
在第二项专利中,苹果试图解决AR头显如何在现实世界的视频源上呈现虚拟物体,并结合现实世界的摄像头数据和数字制作的版本为用户即时执行。由于这需要准确而快速地执行,这样的过程可能需要大量的计算资源来完成,以达到高标准。在名为 "结合真实和虚拟图像的方法和设备 "的专利中,苹果提出了一种系统可以用尽可能少的资源来计算混合后的虚拟图像的方法。
对于该系统,专利中提到了摄像头的进样可以为 "真实像素 "创建一系列的数值,而这些数值以 "虚拟像素 "的形式存在于其虚拟对应物中。每一个都有自己的像素值,用来进行计算,以确定应该使用什么最终像素值并显示给用户。两个像素值可以合并成一个值,这个值可以基于真实像素值和虚拟像素值之间的加权平均值。苹果公司估计,加权可以部分地根据真实或虚拟像素的alpha或透明度值来确定。确定真实像素的alpha值,可以通过对完整的相机图像进行下采样,根据相机图像创建一个模板,并根据下采样图像和模板生成一个消光参数矩阵。该消光参数图像可以进行上采样,进而可以创建两个像素值可以合并成一个值,这个alpha值也可以用来为一个特定的像素创建颜色组件像素值,使各个颜色能够混合,而不是整个像素值本身。通过使用该技术,人们认为将图像传输到显示屏所需的带宽可以 "少于 "单独由摄像头产生的数据的十分之一。
苹果每周都会提交大量的专利申请,但虽然专利的存在表明了该公司研发工作感兴趣的领域,但并不能保证这些概念会出现在未来的产品或服务中。



“广东财经网”的新闻页面文章、图片、音频、视频等稿件均为自媒体人、第三方机构发布或转载。如稿件涉及版权等问题,请与
我们联系删除或处理,客服邮箱1098101642@qq.com,稿件内容仅为传递更多信息之目的,不代表本网观点,亦不代表本网站赞同
其观点或证实其内容的真实性。
- 声音提醒
 - 60秒后自动更新
 
【民政部回应何时恢复婚姻登记】民政部社会事务司二级巡视员杨宗涛表示,婚姻登记场所是人群聚集场所,部分地区暂停婚姻登记工作是对人民群众安全负责。未停止登记的地方推广用电话、网络、qq群预约登记,控制登记人数,分批分段登记,减少人员聚集和在登记机关停留时间。已停止婚姻登记地方将根据当地疫情控制情况逐渐恢复。
15:54欧洲央行副行长金多斯:欧洲央行还没有达到逆转利率。宽松政策的副作用更明显了。
15:54财经网站Forexlive分析师Justin Low评瑞士1月CPI月率:尽管通胀年率保持稳定,但核心通胀率有所下降,这一点令人更加担忧。这只是进一步巩固了瑞士央行维持现有货币政策不变,并可能在未来寻求更多宽松措施的观点。
15:54【武汉两大批发市场商户开业率超过80%】商务部市场建设司司长朱小良10日称,目前武汉生活必需品供应基本正常,除冷鲜肉、鲜叶菜等少数品种存在结构性短缺外,大部分重要生活物资供应充足,未发生明显抢购或脱销断档情况。当地白沙洲和四季美两大批发市场正常营业,商户开业率超过80%,日交易量上升至3000吨以上。(国是直通车)
15:53【日本2019年经常项目顺差增长4.4%】日本财务省10日发布的国际收支初步统计报告显示,主要受外国人入境游消费扩大影响,2019年日本经常项目顺差增长4.4%。报告显示,2019年日本经常项目顺差为20.06万亿日元(1美元约合109.8日元)。其中,商品贸易方面,由于液化天然气价格下跌等因素,进口下降5.6%至75.56万亿日元;由于汽车部件及钢铁等产品出口减少,出口下降6.3%至76.12万亿日元。货物贸易顺差减少53.8%,为5536亿日元。(新华社)
15:53欧元兑美元EUR/USD短线波动不大,现报1.0952。
15:53瑞士1月CPI年率:0.2%,前值:0.2%,预期:0.1%;瑞士1月CPI月率:-0.2%,前值:0%,预期:-0.2%。
15:52英镑兑美元GBP/USD短线走低13点,现报1.2890。
15:52【宁德时代“供电”国产特斯拉 有望拉低售价20%】全国乘联会秘书长崔东树分析认为,“随着特斯拉国产化率提升和产能爬坡,未来特斯拉国产车型的价格下探空间还是很大的。”他预计今年下半年,国产Model 3车型的售价就有望降至25万元,降幅接近20%。(新京报)
15:51【内蒙古:对不裁员或少裁员企业返还上年度50%失业保险费】据内蒙古新型冠状病毒肺炎疫情防控工作指挥部消息,疫情期间,内蒙古对不裁员或少裁员的企业返还上年度实际缴纳失业保险费的50%,对面临暂时性经营困难的中小企业,返还标准提高到上年度6个月企业及其职工缴纳社会保险费的50%。
15:51【商务部:2019年服务进出口总额54152.9亿元 同比增长2.8%】商务部新闻发言人表示,2019年,在服务贸易创新发展试点等政策的激励下,我国服务贸易总体保持平稳向上态势,逆差明显下降,结构显著优化,高质量发展成效初步显现。全年服务进出口总额54152.9亿元(人民币,下同),同比增长2.8%。其中,出口总额19564.0亿元,同比增长8.9%;进口总额34588.9亿元,同比减少0.4%。(第一财经)
15:51【振华股份:疫情导致下游客户开工推迟 产品库存上升】振华化学公告,公司目前生产经营稳定,所有产能均正常开工,原材料采购能基本满足生产需要,由于疫情导致下游客户开工推迟,公司出货量减少,产品库存有所上升。公司将根据客户需求、疫情及市场变化,适度调整生产经营策略,尽可能保持生产经营的稳定。
15:50环旭电子2月10日晚间公告,公司2020年1月合并营业收入为23.27亿元,较去年同期的合并营业收入减少27.83%,较2019年12月合并营业收入环比减少37.23%。
15:49精测电子:与京东方集团签订了多份销售合同,合同累计金额达到6.96亿元。
17:12华夏银行:银保监会同意本公司在全国银行间债券市场发行不超过100亿元人民币的金融债券,募集资金全部用于绿色信贷。
17:03




