使用“扫一扫”即可将网页分享至朋友圈。
剑指高端? 比亚迪注册“军舰系列”商标 包含“战列舰”等
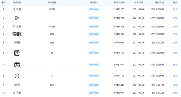
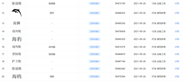
据企查查APP显示,近日,比亚迪股份有限公司申请注册多项和军舰有关的商标,例如“巡洋舰”“护卫舰”“登陆舰”“驱逐舰”“战列舰”等。这些商标的国际分类涉及运输工具、建筑修理,目前商标状态均为申请中。

比亚迪相关商标申请
除了这次的“军舰系列”商标外,比亚迪也申请了“海洋系列”商标,包括了“海豚”“海鸥”“海龟”等。此前发布的新车型“海豚”便是其中之一。
有媒体分析,比亚迪之所以一口气注册这么多商标,是因为目前其唯一的“王朝系列”已经不够其使用了,作为王朝系列中的旗舰车型,唐和汉的售价最高也不到30万元,难以承托起比亚迪冲击高端的梦想。作为比亚迪新能源的直接竞争对手,理想、蔚来等新势力车企都有着售价远超比亚迪的车型,因此,比亚迪不得不开拓一个新系列来直接和新势力车型竞争高端市场。
比亚迪X-DREAM概念车
有媒体猜测,此前曾认为是接替唐DM-p系列的比亚迪概念车X-DREAM或许将被比亚迪划归为军舰系列。而就在不久前,比亚迪官方首次对外解密了全新概念车X-DREAM的多项配置,无论是外观,还是内部配置,该概念车的量产车型定位都一定不会低。而同样霸气的“军舰系列”车名,和该概念车造型可谓是相得益彰。
“广东财经网”的新闻页面文章、图片、音频、视频等稿件均为自媒体人、第三方机构发布或转载。如稿件涉及版权等问题,请与
我们联系删除或处理,客服邮箱1098101642@qq.com,稿件内容仅为传递更多信息之目的,不代表本网观点,亦不代表本网站赞同
其观点或证实其内容的真实性。
- 声音提醒
- 60秒后自动更新
【民政部回应何时恢复婚姻登记】民政部社会事务司二级巡视员杨宗涛表示,婚姻登记场所是人群聚集场所,部分地区暂停婚姻登记工作是对人民群众安全负责。未停止登记的地方推广用电话、网络、qq群预约登记,控制登记人数,分批分段登记,减少人员聚集和在登记机关停留时间。已停止婚姻登记地方将根据当地疫情控制情况逐渐恢复。
15:54欧洲央行副行长金多斯:欧洲央行还没有达到逆转利率。宽松政策的副作用更明显了。
15:54财经网站Forexlive分析师Justin Low评瑞士1月CPI月率:尽管通胀年率保持稳定,但核心通胀率有所下降,这一点令人更加担忧。这只是进一步巩固了瑞士央行维持现有货币政策不变,并可能在未来寻求更多宽松措施的观点。
15:54【武汉两大批发市场商户开业率超过80%】商务部市场建设司司长朱小良10日称,目前武汉生活必需品供应基本正常,除冷鲜肉、鲜叶菜等少数品种存在结构性短缺外,大部分重要生活物资供应充足,未发生明显抢购或脱销断档情况。当地白沙洲和四季美两大批发市场正常营业,商户开业率超过80%,日交易量上升至3000吨以上。(国是直通车)
15:53【日本2019年经常项目顺差增长4.4%】日本财务省10日发布的国际收支初步统计报告显示,主要受外国人入境游消费扩大影响,2019年日本经常项目顺差增长4.4%。报告显示,2019年日本经常项目顺差为20.06万亿日元(1美元约合109.8日元)。其中,商品贸易方面,由于液化天然气价格下跌等因素,进口下降5.6%至75.56万亿日元;由于汽车部件及钢铁等产品出口减少,出口下降6.3%至76.12万亿日元。货物贸易顺差减少53.8%,为5536亿日元。(新华社)
15:53欧元兑美元EUR/USD短线波动不大,现报1.0952。
15:53瑞士1月CPI年率:0.2%,前值:0.2%,预期:0.1%;瑞士1月CPI月率:-0.2%,前值:0%,预期:-0.2%。
15:52英镑兑美元GBP/USD短线走低13点,现报1.2890。
15:52【宁德时代“供电”国产特斯拉 有望拉低售价20%】全国乘联会秘书长崔东树分析认为,“随着特斯拉国产化率提升和产能爬坡,未来特斯拉国产车型的价格下探空间还是很大的。”他预计今年下半年,国产Model 3车型的售价就有望降至25万元,降幅接近20%。(新京报)
15:51【内蒙古:对不裁员或少裁员企业返还上年度50%失业保险费】据内蒙古新型冠状病毒肺炎疫情防控工作指挥部消息,疫情期间,内蒙古对不裁员或少裁员的企业返还上年度实际缴纳失业保险费的50%,对面临暂时性经营困难的中小企业,返还标准提高到上年度6个月企业及其职工缴纳社会保险费的50%。
15:51【商务部:2019年服务进出口总额54152.9亿元 同比增长2.8%】商务部新闻发言人表示,2019年,在服务贸易创新发展试点等政策的激励下,我国服务贸易总体保持平稳向上态势,逆差明显下降,结构显著优化,高质量发展成效初步显现。全年服务进出口总额54152.9亿元(人民币,下同),同比增长2.8%。其中,出口总额19564.0亿元,同比增长8.9%;进口总额34588.9亿元,同比减少0.4%。(第一财经)
15:51【振华股份:疫情导致下游客户开工推迟 产品库存上升】振华化学公告,公司目前生产经营稳定,所有产能均正常开工,原材料采购能基本满足生产需要,由于疫情导致下游客户开工推迟,公司出货量减少,产品库存有所上升。公司将根据客户需求、疫情及市场变化,适度调整生产经营策略,尽可能保持生产经营的稳定。
15:50环旭电子2月10日晚间公告,公司2020年1月合并营业收入为23.27亿元,较去年同期的合并营业收入减少27.83%,较2019年12月合并营业收入环比减少37.23%。
15:49精测电子:与京东方集团签订了多份销售合同,合同累计金额达到6.96亿元。
17:12华夏银行:银保监会同意本公司在全国银行间债券市场发行不超过100亿元人民币的金融债券,募集资金全部用于绿色信贷。
17:03




